当几个月前微软为身体障碍人士推出 Xbox Adaptive Controller 的时候,无数面临身体障碍玩家的生活就此改变。一位不幸因车祸脊髓受伤的男孩就写信给微软感谢他们无私的举动让他能再次玩到游戏,让自己的遭遇变得不那么痛苦,医生也表示微软的手柄让身体障碍患者的幸福感和情绪都大大提升。而微软似乎不想止步于此,还会在未来给视力障碍人士设计专属手柄,不让他们因身体上的障碍而不能游戏。
秒拍播放地址:点我
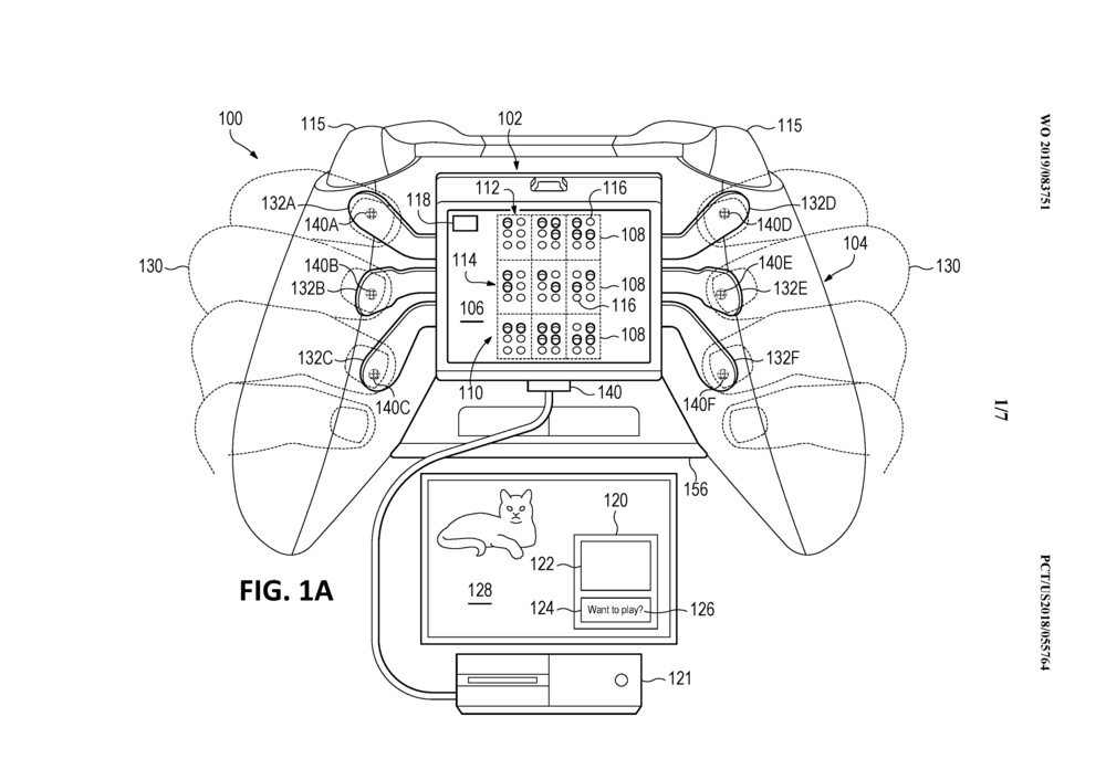
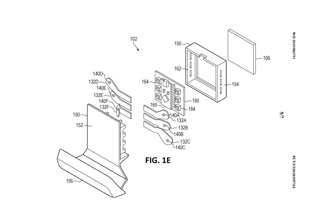
近日,LetsGoDigital 报道了一项由微软注册,将盲文面板整合到 Xbox 手柄中的专利。专利中显示,位于手柄后侧的盲文面板可以动态进行变化,因此有视觉障碍的游戏玩家可以通过手柄的背面来轻松阅读文本。此外,这一手柄还能能够将语音转换为盲文,允许用户在聊天或直播等情况使用这一面板来轻松了解其他人说了什么。




另外,盲文面板后面还有六个可编程拨片,玩家可以自由发挥他们的作用,正如此前的 Adaptive Controller 一样 ,该手柄也会让更多玩家可以轻松游玩游戏。而且这个小配件从专利文件上来看,是可以直接连接在现有的 Xbox 手柄上。

微软为玩家着想,不惜成本投入的大量财力和人力值得我们每个人的赞许;当然,专利仅是万事的第一步,该手柄还需要经过大量的测试研发等过程,也期待早日每位玩家都能无障碍的享受到游戏的乐趣。